
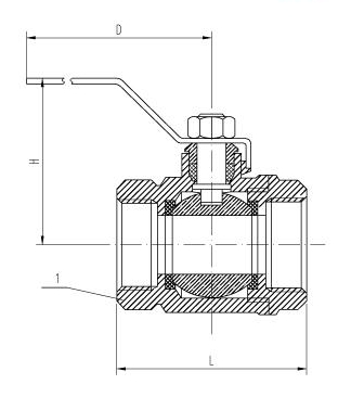
|
DN
|
SIZE
|
L
|
H
|
D
|
|
15
|
1/2
|
54
|
47
|
80
|
|
20
|
3/4
|
61
|
54
|
82
|
|
25
|
1
|
72.5
|
58
|
102
|
|
32
|
1 1/4
|
80.5
|
66
|
131
|
|
40
|
1 1/2
|
93
|
72
|
131
|
|
50
|
2
|
112
|
89
|
153
|
|
65
|
2 1/2
|
135
|
121
|
225
|
|
80
|
3
|
149
|
133
|
277
|
|
100
|
4
|
174
|
149
|
277
|
|
零件名称
Part name
|
材料 Material
|
|
|
名称 Name
|
牌号 Mark
|
|
|
阀体、阀盖(Body、Cover)
|
青铜(Bronze)
|
C83600
|
|
阀盘、阀杆(Disk、stem)
|
青铜(Bronze)
|
QA19-21
|
声明:
本文中所有文字、数据、图片均只适用于参考。需要查看更多的船用美标NPT青铜球阀性能参数、结构尺寸参数、价格等详情,或要求高质量印刷样本,请联系我们。
· 电话:18717746989
· 邮箱:sales@shczvalve.com
7188彩票订货须知:(国家标准):
一、A:产品名称、型号、公称通径B:介质及温度、压力范围C:是否有附件、交货期、特殊要求等以便我们的为您正确选型。
二、若已经由设计单位选定我公司的阀门型号,请您根据阀门参数直接与我们销售中心订购。
三、当您使用的场合非常重要或环境比较复杂时,请您提供设计图纸和详细参数,我们的工程师专家会为您审核与分析。我们可以为您提供专业的解决方案,包括设计、定做、成套、运行、服务。我们一直致力于阀门行业领域的领导者,为您提供最新的船用阀门知识、最好的服务、最佳的技术顾问。
感谢您访问我们的网站【http://www.eljardiarfa.com】,如有任何疑问,您可以致电给我们,我们一定会尽心尽力为您提供优质的服务。本厂专业提供船用蝶阀、船用闸阀、船用止回阀、船用调节阀、船用减压阀、船用呼吸阀、高速透气阀、船用快关阀、船用自闭阀、船用旋塞阀、船用消防阀、船用通海阀、船用防浪阀、船用滤器、船用空气帽、船用球阀、船用截止阀、船用截止止回阀、船用阀组、船用截止阀箱、船用针型阀、船用电磁阀、船用隔膜阀、船用压力表阀等各类船用阀门,不锈钢阀门。