| 产品名称: | 可调式支管减压阀 | 产品型号: | YZ11X |
| 公称通径: | DN15~DN50 | 结构形式: | 弹簧可调式 |
| 工作压力: | 1.0MPa~1.6MPa | 连接方式: | 内螺纹 |
| 适用温度: | -20ºC~+570ºC | 功能作用: | 减压 |
| 阀体材质: | 不锈钢、黄铜 | 制造标准: | 国标GB、德国DIN、美国API、ANSI |
| 适用介质: | 水、饱和蒸汽等 | 生产厂家: | 7188彩票 |
| 类型 | 型号 |
公称压力 PN(MPa) |
公称通径 DN(MPa) |
连接形式 | 阀体材料 | 出口压力(MPa) | 工作℃ |
| 可调式支管减压阀 |
YZ11X-16T YZ11X-25T |
1.6,2.5 | 15~50 | 内螺纹 | 青钢 | 0.05~0.6(可调) | 80 |
|
YZ11X-16P YZ11X-25P |
不锈钢 |
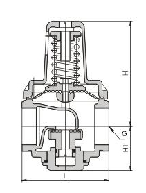
| 公称通径DN(MPa) | 尺寸(MM) | 重量(Kg) | ||||
| MM | in | H1 | L | H | φG | |
| 15 | 1/2 | 31 | 60 | 76.5 | 59 | 1.2 |
| 20 | 3/4 | 31 | 75 | 76.5 | 73 | 1.2 |
| 25 | 1 | 36 | 88 | 85 | 81 | 1.4 |
| 32 | 11/4 | 42 | 93 | 98 | 81 | 1.5 |
| 40 | 11/2 | 45 | 98 | 102 | 85 | 2 |
| 50 | 2 | 54 | 130 | 117 | 98 |
2.65 |


|
声明:【YZ11X可调式支管减压阀】规格型号、结构尺寸由7188彩票提供,如何选择适用的YZ11X可调式支管减压阀产品,使之在工艺控制中安全可靠、经济适用,可致电我司销售部门及技术部门,我们将在最短的时间内为您解答! |